PN8368電源管理芯片手機充電器IC方案
字號:T|T
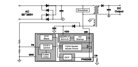
電源ic就是指開關電源的脈寬控制集成,電源靠它來調整輸出電壓電流的穩定。手機是電源管理芯片最為重要的應用場合,PN8368集成超低待機功耗準諧振原邊控制器及650V高雪崩能力智能功率MOSFET,用于高性能、外圍元器件精簡的充電器、適配器和內置電源。PN8368為原邊反饋工作模式,可省略光耦和TL431。內置高壓啟動電路,可實現芯片空載損耗(230VAC)小于30mW。

在恒壓模式,采用準諧振與多模式技術提高效率并消除音頻噪聲,使得系統滿足6級能效標準,可調輸出線補償功能能使系統獲得較好的負載調整率;在恒流模式,輸出電流和功率可通過CS腳的RCS電阻進行調節。該芯片提供了極為全面的智能保護功能,包含逐周期過流保護、過壓保護、開環保護、過溫保護、輸出短路保護和CS開/短路保護等。

在智能電子產品中,手機給予我們很多的方便,除了通訊這個基本功能之外,購物,閱讀,聽音樂等等娛樂休閑功能也變的越來越重要,甚至可以說手機是現代人必備工具,由于手機軟件使用頻繁,所以人們對手機的電量需求也越來越大,要求也是越來越高,驪微電子從充電器設計到充電管理芯片產品覆蓋5-100W以內各類電源產品,同時提供電源產品應用與電源設計服務,為手機充電器廠商提供相關的電源IC方案,對于品質、性能等各方面也提出了更高要求。
同類文章排行
- 一款適配器的AC-DC轉換芯片介紹-SD4873
- 芯龍12V/5A DC/DC低成本電源芯片方案-XL150
- SF6773 650V功率電源手機充電器芯片
- PN8147內置MOS管AC-DC電源適配器IC方案芯朋
- 士蘭微推出AC/DC 5V/1A充電器解決方案SD69
- NCE現貨n溝道mos管NCE6003Y磁場應管SOT23-3
- PN8368電源管理芯片手機充電器IC方案
- 低成本AC/DC開關LED驅動芯片-CS6553
- 4842mos管sop-8場效應管30V / 7.7A雙N溝道
- 60W以上適配器方案-sf5877
阿里巴巴店鋪
關注驪微
收藏驪微

